احسان خسروی / استراتژیست و مشاور سئو (Off-page)·۵ ماه پیشآمار آپدیتهای تأییدشده گوگل در سال ۲۰۲۵ و معنای آن برای سئوآمار آپدیتهای گوگل در ۲۰۲۵، تفکیک آپدیتهای Core و Spam و تفاوت آپدیتهای تأییدشده با تغییرات تأییدنشده برای تحلیلگر سئو.
احسان خسروی / استراتژیست و مشاور سئو (Off-page)·۸ ماه پیشالگوریتم ضداسپم PayDay Loan گوگلالگوریتم ضداسپم PayDay Loan گوگل با تمرکز بر کوئریهای پرریسک مثل وام فوری، شرطبندی و داروهای غیرمجاز، نتایج جستجو را پاکسازی میکند.
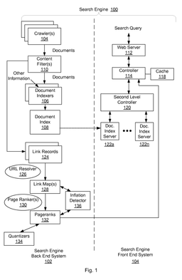
محمد داداش زادهدرپتنت ها و مقالات تحقیقاتی گوگل·۱ سال پیشروشهای تشخیص لینک اسپم در پایگاههای داده ابرپیوند با تحلیل گراف جهتدارروشهای تشخیص لینک اسپم در پایگاههای دادهای که دارای پیوندهای ابرمتنی هستند، شامل محاسبه یک مقدار احتمال اسپم برای گرهها در یک گراف جهت…
داده پایش کارن (نرم افزارهای امنیت شبکه و اطلاعات)·۱ سال پیشچک لیست افزایش امنیت ایمیلچک لیست افزایش امینت ایمیلافزایش امنیت ایمیل سازمانی چیزی نیست که بتوان آنرا ساده گرفت. ایمیل برای تجارت مدرن ضروری است، اما مستقیماً در تق…
سینا سهیلی·۲ سال پیشمراقب ایمیل های اسپم باشید که از شما اخاذی نکنن!!دیروز توی یکی از میل سرور ها مشکلی پیش اومده بود و من داشتم ایمیل های اون میل سرور رو چک میکردم، اشتباهی توی قسمت اینباکس بود و چشمم به ی…
HamyarWP - همیاروردپرس·۳ سال پیشعضویت اسپم در خبرنامه وردپرسبرای سرویسی که به عنوان خبرنامه استفاده میکنیم هزینه میکنیم و مسلما دوست داریم تمام کاربران ما حقیقی باشند.
Bamasoft·۳ سال پیشاسپم (spam) یا هرزنامه چیست و چرا ارسال می شود؟اسپم یا همان هرزنامه (Spam) یکی از تهدیدات سایبری است که ممکن است از طرق مختلف اعم از ایمیل و ... وارد دستگاه و سیستم شما شود.
مهدی رضائیان·۴ سال پیشاسپم اسکور چیست؟ + روش های کاهش آنامروزه ابزارهای بسیاری جهت بررسی وضعیت سایت وجود دارند. که برحسب محتوا و قالب، لینک سازی و… به سایت شما امتیاز می دهند. این امتیازات حاکی ا…